av天天射-欧美性俱乐部-又大又爽又粗-日本99久久-亚洲va欧美va国产va影院-国语对白少妇爽91-公交车一边做爰一边吃奶-天天看片日日夜夜-美国少妇cxxxxx,医生调教双性(高h,1v1,调教),性色av蜜臀av浪潮av老女人,欧美毛茸茸视频
設為首頁
|
加為收藏
首 頁
產品中心
應用案例
新聞資訊
我們的客戶
榮譽資質
關于合鑫泰
聯系我們
3D視覺
邦納產品圖
2D視覺
產品分類
2D相機
3D相機
鏡頭、光源
視覺軟件
工業智能傳感
邦納傳感器
保策安全地毯
聯系我們
手機:13306482673
地址:青島城陽長城南路6號首創空港國際中心
新聞資訊
送你一份防爆“秘籍”,安全檢測由實力派守護!
要說防爆檢測那就得先從爆炸的分類講起。中國將爆炸性物質分為三類:I類-礦井甲烷;II類-爆炸性氣體混合物(含蒸氣、薄霧);III類-爆炸性粉塵和纖維。而北美的劃分標準則是:ClassI–爆炸性氣體;
2019-12-11
機器視覺,智造之眼
機器視覺(MachineVision)作為光電技術應用的一個特定領域,目前已經發展成為一個備受矚目的行業。隨著工業4.0浪潮襲來,機器視覺會擺脫最初“輔助工具”的地位成為生產系統的“眼睛”與“大腦
2019-12-10
編碼器傳感器在工業紡織流程中的應用
得益于工業紡織技術的進步和蓬勃發展,人們選擇服飾的種類和范圍變得更加豐富而自由。但你知道嗎,即使是制作一件簡單的貼身衣物,從面料到成品的紡織工藝流程也是繁多且復雜的。這中間的加工過
2019-12-10
多傳感器技術在坐標測量設備上的創新性發展
傳統上,高級坐標測量設備分為三類,即坐標測量機(CMMs)、光學數字化儀和掃描儀(ODS)以及視頻測量機(VMMs)。最初,這三種坐標測量設備主要針對不同的市場領域:CMM–機械加工、制造和中大型塑料
2019-12-06
激光傳感器和位移傳感器在鋼軌打磨車中的應用
目前,隨著我國城市化的不斷發展,各種軌道交通得到大力發展。目前,國內的鋼軌養護主要靠鋼軌打磨車或鋼軌銑磨車。今天,我們就來簡單了解一下激光傳感器、位移傳感器在鋼軌打磨車或鋼軌銑磨車
2019-12-06
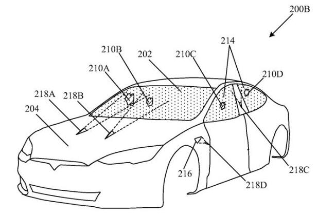
特斯拉新專利借激光和傳感器技術清除車身污漬
一直以來,特斯拉CEO埃隆·馬斯克一直對激光技術,特別是激光雷達傳感器,在自動駕駛車輛上的應用持懷疑態度。不過,最近,特斯拉申請的一項全新專利顯示,特斯拉希望利用車載傳感器和高能量的激
2019-12-04
首頁
上一頁
34
35
36
37
38
39
40
下一頁
尾頁
首 頁
|
產品中心
|
應用案例
|
新聞資訊
|
我們的客戶
|
榮譽資質
|
關于合鑫泰
|
聯系我們
快速產品通道
-
2D相機
-
3D相機
-
鏡頭、光源
-
視覺軟件
-
工業智能傳感
聯系我們
電話: 13306482673
E-mail:tt.qu@hxt-tech.com
地址:青島城陽長城南路6號首創空港國際中心
Copyright © 青島合鑫泰工業技術有限公司
魯ICP備18042401號-1